91视频IOS下载领域的热门问题
请在此查阅最新消息,了解91视频IOS下载各种复杂的工业基础知识
全国服务热线
4006-112-722
标准润滑旋片泵是一种单级泵,带有一体式闭环油循环系统。结构坚固,结构紧凑。典型的叶片寿命为50,000小时。
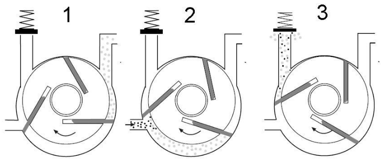
泵转子偏心地安装在泵缸中。当泵转子转动时,入口空气被困在转子和叶片段之间(见下图中的#1)。这会在入口端产生增加的细胞体积,从而产生真空。
由于转子位于泵室的偏心位置,转子,叶片和壳体之间的容积减小并增加了转子的旋转。随着旋转继续,空气被压缩并排放到排气箱中。请参见下图中的#3。

旋转叶片91视频IOS下载
然后空气通过几个阶段的内部油雾消除器,以从排气中去除99.9%的润滑油。然后将油返回油藏。
真空旋片泵的特点包括:
汽车旋装式机油滤清器(尺寸较大)
一个内置的入口防回吸阀,可以防止泵在关闭过程中向后旋转,同时保持真空,并防止转子外壳被油溢出
内置气镇阀
气镇的原理
在给定温度下,蒸汽可以仅在饱和蒸汽压力下被压缩; 超过这一点,蒸汽凝结。例如,在100℃时,蒸汽可以被压缩到仅1,013.2毫巴; 蒸汽将在较高压力下冷凝。
在一个水容器中(室温下),泵将开始将压力降低到水蒸发点(如果水在海平面处于25°C,蒸发压力将为31.67 mbar绝对压力)。在上图的阶段1中,泵将开始吸入空气和水蒸气的混合物。
在阶段2期间,进气体积与原始容器和排气管隔离。在此阶段,气镇上的阀门打开并添加一定量的空气以改变混合物的饱和压力。
最后,在最后阶段,混合物(富含新鲜空气)被排出,但由于饱和压力改变,所以不会形成冷凝液滴,并且可以从泵中排出进气蒸汽而不干扰其操作。
因此,两个因素至关重要:进气蒸汽的温度和泵的温度。在开始使用可冷凝气体运行之前必须加热泵,并且进气蒸汽的温度必须尽可能低。
用于潮湿91视频APP下载IOS的旋转叶片91视频IOS下载
用于湿式91视频APP下载IOS的旋转叶片91视频IOS下载的操作原理与润滑的旋片式91视频IOS下载相同。差异包括:
用于湿式泵的分离器包括挡板以帮助水从油中沉淀出来。
大型观察镜可以清楚地显示出油中的水分。
泵停止后,水可从下排水阀排出。
无油旋转叶片
无油旋片式91视频IOS下载的工作原理与润滑的旋片式91视频IOS下载非常相似。
主要区别包括:
91视频IOS下载没有用油润滑,因此没有油箱或除雾器。石墨叶片在无油环境中运行。
典型的叶片寿命为10,000小时。
最大真空限制为26.4“Hg。
文章来源:http://www.bang10000.com/news/472.html
声明:文章如需转载请注明来源。本站部分文章和图片来源网络编辑,如存在版权问题请及时沟通处理。
91视频第一页公司集研发、销售91视频IOS下载并提供真空领域解决方案的高新技术企业,为广大用户提供最可靠的、安全易用的真空设备产品及优质专业的服务,帮助全球客户和合作伙伴取得成功。公司主要产品有:旋片91视频IOS下载、螺杆91视频IOS下载、罗茨91视频IOS下载、活塞91视频IOS下载等。
91视频第一页公众号
故障问题解决方案
1.海拔与大气压关系1.1驻波比(VSWR): Voltage Standing Wave Ratio1.2海拔与大气压数据图表 2.海拔与大气压对照表:海拔高度(m)气压(kPa)海拔高度(m)气压(kPa)0101.3410054.9210010...
干式91视频IOS下载的工作原理干式91视频IOS下载是一种无油干式91视频IOS下载,其工作原理是通过旋转的叶轮产生高速运动的气体分子,将气体分子从进气口吸入,然后通过离心力将气体分子排出泵体,从而达到排气的目的。干式91视频IOS下载的优点包括无油设计,不会产生污染物,适用于高纯度、无菌和化学反应等91视频APP下载IOS场合。无润滑油,不需要维护和更换油润滑系统,减少维护成本和维......
空气压缩机常见的故障1、失电故障:空气压缩机动力电源/控制电源失电。这时候需要去检查动力电源、控制电源是否有电。2、马达温度过高:如果马达启动过于频繁、负载过重,马达冷却不够充分,电机本身或轴承有问题,传感器等。这时应该限制马达启动次数,降低加载设定压力。3、压缩机温度过高:空气压缩机出口的油气混合气温度到120℃。你......
东莞市91视频第一页机电科技有限公司是91视频IOS下载和鼓风机领域最专业的供应商,是91视频IOS下载研发制造的高新技术企业,拥有着10多年技术研发经验,为客户提供最完善的真空解决方案。欢迎来电:4006-112-722。...
91视频IOS下载是一种常见的工业设备,广泛91视频APP下载IOS于半导体制造、化学反应、食品加工、真空冷冻、真空热处理等行业。然而,一些用户反映91视频IOS下载噪音大,甚至出现异响,影响生产和使用效果。本文将从噪音和异响两个方面探讨91视频IOS下载的问题,并提供一些解决方法。 一、91视频IOS下载噪音大的原因 91视频IOS下载噪音大的原因有很多,主要包括以下几点: 1. 设备本身的结构......
旋片式91视频IOS下载(简称旋片泵)是一种油封式机械91视频IOS下载。其工作压强范围为101325~1.3310-2(Pa)属于低91视频IOS下载。它可以单独使用,也可以作为其它高91视频IOS下载或超高91视频IOS下载的前级泵。它已广泛地91视频APP下载IOS于冶金、机械、军工、电子、化工...
请认真填写需求信息,91视频第一页会在24小时内与您取得联系